| Sign In | Join Free | My portofva.com |
|
Brand Name : Sinuo
Model Number : SN2507
Certification : Calibration Certificate (Cost Additional)
Place of Origin : China
MOQ : 1
Price : Customized
Payment Terms : T/T
Supply Ability : 10 set per month
Delivery Time : 30 Days
Packaging Details : Plywood Case
Applied Standard : IEC60898-1
Impact Mass : 150±1g(200g)
Mounting Bracket Mass : 10±1Kg
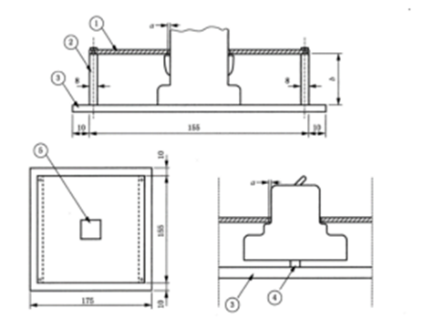
Mounting Bracket Size : 175*175*8 mm
Sample Range : Panel/rail/recessed/panel mount type
Impact Head : R10 polyamide, hardness HR100
Mounting brackets : Can rotate ±90°
Position regulation : 100~100mm adjustable
Low-Energy Pendulum Impact Tester IEC 60898 for Circuit Breaker & Socket Test
Product Overview:
This Low-Energy Pendulum Impact Test Equipment is designed to perform mechanical impact resistance tests in compliance with IEC 61009-1:2012 and IEC 60898-1:2015 standards. It is applicable to switch sockets, panel-mounted and rail-mounted circuit breakers, contactors, installation boxes, and other electrical devices that may be subjected to mechanical stress during normal use.
Using a 1-meter pendulum principle (test Eha), the impact hammer is released from a defined height, delivering a precise impact to the test sample through gravitational energy conversion. This simulates real-world mechanical shocks to assess the durability and structural safety of exposed parts.
Key Features:
Standard Compliance: IEC 61009-1:2012, IEC 60898-1:2015
No Installation Required: Floor-standing design, ready to use
Flexible Mounting Bracket: Fully adjustable in X, Y, Z directions (±100 mm), and capable of ±90° rotation around both horizontal and vertical axes
Targeted Impact Testing: Release angle can be adjusted to hit front or side surfaces of the sample
Versatile Sample Support: Compatible with panel mount, rail mount, and recessed mount circuit breakers
Technical parameters:
| Model | SN2507 |
| Applicable Sample Range | Panel mount, rail mount, recessed, panel mount circuit breaker |
| Impact element head | R10 polyamide, hardness HR100 |
| Impact element mass (equivalent mass) | 150±1g(200g) |
| Mounting Bracket quality | 10±1Kg |
| Mounting brackets | Can rotate ±90° around the mounting plate, the mounting plate can rotate ±90° around the vertical axis, X, Y, Z three axes can be adjusted |
| Position regulation | Bracket X-100~100mm, Y-100~100mm, Z-100~100mm stroke adjustable |
| Swing pendulum | A steel pendulum with a length of 1000±1mm, a mass of 100±1g, a material outer diameter of 9 mm, and a wall thickness of 0.5 mm |
| Impact height | 0-500mm, scale display (corresponding angle conversion) |
| Circuit breaker mounting plate | 175*175*8 laminated board |
| Specimen fixture | Non-enclosed circuit breaker mounting fixture
Panel mount circuit breaker mounting clamps
|
| Dimension | 860mm×650mm×2000mm |
| Weight | About 140 KG |
| Energy /J | 0.14 | 0.2 | (0.3) | 0.35 | (0.4) | 0.5 | 0.7 | 1 | 2 | 5 | 10 | 20 | 50 | ||
| Equivalent Mass /kg | 0.25 | (0.2) | 0.25 | (0.2) | 0.25 | (0.2) | (0.2) | 0.25 | 0.25 | 0.25 | 0.5 | 1.7 | 5 | 5 | 10 |
| Height of Fall ±1%mm | 56 | (100) | 80 | (150) | 140 | (200) | (250) | 200 | 280 | 400 | 400 | 300 | 200 | 400 | 500 |
| Note 1, see note 3.2.2; Note 2, the energy unit of this part of the joule (J) is derived from the standard gravity acceleration (g), the whole value of g round: 10m / s2. | |||||||||||||||



|
|
Low-Energy Pendulum Impact Tester IEC 60898 for Circuit Breaker & Socket Test Images |